第九章 膛口装置设计课后题
填空题:
1.膛口装置按功用不同,大致可分为膛口制退器、膛口助退器、膛口消焰器等几种类型。;
2.根据制退器的工作原理分类为:冲击式膛口制退器、反作用式膛口制退器、冲击反作用式膛口制退器。
3、根据制退器的结构形式分类:单室单排膛口制退器、单室多排膛口制退器、多室多排膛口制退器、无室膛口制退器。
简答题:
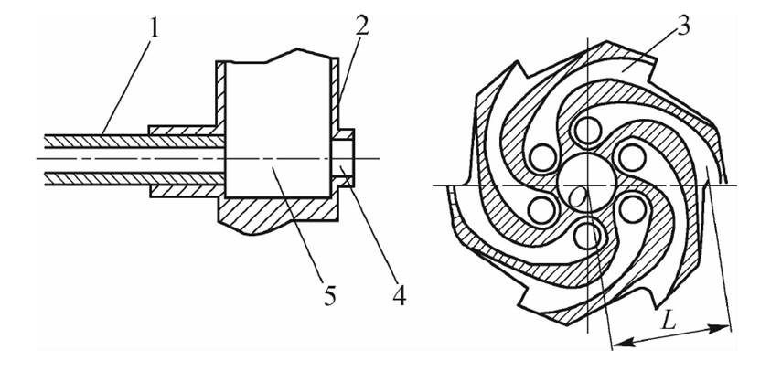
1、 图为什么装置的结构原理?

1— 身管组; 2—喷管;3—拉瓦尔喷管通道;4—中央弹孔;5—制退腔
答:对于转管武器而言,膛口装置除了制退作用外,还可以根据需要,利用膛口装置能够改变气体流动的特点,获得驱动转管武器身管组旋转的驱动力矩。图为膛口制退助旋器装置的结构原理。
2、简述膛口制退器的特征量及影响因素
答:表征膛口制退器性能的特征量有结构特征量α、效率ηz和冲量特征量χ等。影响因素:膛口制退器的结构特征量α的值仅取决于膛口制退器的结构,而与弹道条件无关;膛口制退器的效率是评价制退器所起制退作用大小的一个系数,可以按制退器所吸收的冲量与武器原有后坐冲量之比确定;膛口制退器的冲量特征量χ的计算公式为:

3、简述膛口助退器结构参数对工作性能的影响。
答:(1)中央弹孔直径中央弹孔直径
对助退器工作的影响很大。中央弹孔直径大,则助退腔内的压力低,助退效果小。
(2)活塞横断面积在其他结构条件不变的情况下,活塞横断面积
大,则活塞端面受到的力大,助退效果大。但活塞面积增大,武器的横向结构尺寸加大,这是不利的。
(3)助退腔初始容积助退腔初始容积大,气体充满助退腔所需的时间长,腔内气体的压力低,助退效果差。
4、简述膛口消焰器的工作原理
答:(1)屏蔽前期焰及一次焰火光膛口安装了消焰器后,自侧向屏蔽了由前期焰及一次焰而生的火光。
(2)降低出口处火药燃气温度自膛口喷出的火药燃气射流在膛口装置中经过膨胀得到降温,使气流流出装置时温度已较低,因此失去了产生火焰的条件,起到灭火的作用。
(3)降低出口处火药燃气压力自膛口喷出的火药燃气射流在膛口装置中已得到膨胀,气体出装置时的压力已很低,这样气体出膛口装置后的膨胀度较小,膨胀后产生的正激波强度亦较低,气体通过马赫盘后的压力回升值亦较小,由此避免中间焰及二次焰的产生。
5、降低膛口声源能量的技术措施
答:(1)屏蔽前期焰及一次焰火光膛口安装了消焰器后,自侧向屏蔽了由前期焰及一次焰而生的火光。
(2)降低出口处火药燃气温度自膛口喷出的火药燃气射流在膛口装置中经过膨胀得到降温,使气流流出装置时温度已较低,因此失去了产生火焰的条件,起到灭火的作用。
(3)降低出口处火药燃气压力自膛口喷出的火药燃气射流在膛口装置中已得到膨胀,气体出装置时的压力已很低,这样气体出膛口装置后的膨胀度较小,膨胀后产生的正激波强度亦较低,气体通过马赫盘后的压力回升值亦较小,由此避免中间焰及二次焰的产生。